- 4"
- 5"
- 7"
- CPT-DVS
Превосходная рыболовная электроника от Raymarine стала невероятно простой
Измените свой вид под водой и поймайте больше рыбы с помощью широкоспектральной технологии CHIRP DownVision™ Dragonfly 4 и 5. Легко идентифицируйте рыбу и подводные объекты с помощью изображений сонара, похожих на фотографии. Всепогодный цветной ЖК-дисплей высокого разрешения Dragonfly выглядит четким под любым углом. Откройте для себя более умный эхолот с Dragonfly.
Отличие стрекозы
Прыжок в будущее гидролокаторов: гидролокаторы Dragonfly используют настоящую технологию CHIRP широкого спектра. Благодаря широкому спектру CHIRP в воду передается больше сигналов сонара, что позволяет Dragonfly интерпретировать больше деталей, нацеливаться на большее количество рыб и структурировать изображение с непревзойденной четкостью.
CHRIP DownVision™ — просто лучший эхолот для визуализации
CHIRP DownVision™ изменит ваш вид под водой благодаря невероятно четким изображениям сонара, похожим на фотографии. CHIRP DownVision™ от Dragonfly превосходит обычные гидролокаторы визуализации благодаря превосходным характеристикам на глубине до 600 футов (180 м) и надежному высокоскоростному отслеживанию дна.
Лучший вид
Каждый Dragonfly спроектирован с использованием технологии ЖК-дисплея с оптическим соединением. Всепогодные дисплеи Dragonfly с оптической связью, ранее доступные только на высококачественных морских дисплеях, обеспечивают более яркие цвета, более высокую контрастность и гарантированно никогда не запотевают.
Подключайтесь и делитесь беспроводным доступом
Модели Dragonfly PRO оснащены встроенным Wi-Fi. Рыболовы могут передавать данные сонара Dragonfly прямо на свой смартфон или планшет с помощью мобильного приложения Raymarine Wi-Fish™. Мобильное приложение Wi-Fish позволяет видеть эхолот Dragonfly прямо у вас на ладони, а также вы можете перематывать и захватывать изображения сонара, чтобы поделиться ими в Интернете с друзьями.
Лучшие карты
Модели Dragonfly со встроенным GPS позволяют выбирать карты, совместимые с Navionics, C-MAP или Raymarine LightHouse.
Улучшенный сонар
В отличие от обычных гидролокаторов, которые передают данные на одной частоте с каждым импульсом, эхолот Dragonfly DownVision™ использует технологию CHIRP для одновременной передачи по широкому спектру частот сонара – в результате получаются реалистичные сонарные изображения с гораздо более высоким разрешением.
Двухканальный CHIRP
CHIRP DownVision™ плюс канал наведения на рыбу на базе CHIRP для получения обычных гидролокационных изображений. Двухканальный эхолот доступен на всех моделях Dragonfly, кроме Dragonfly 4DV.
Монтировать где угодно
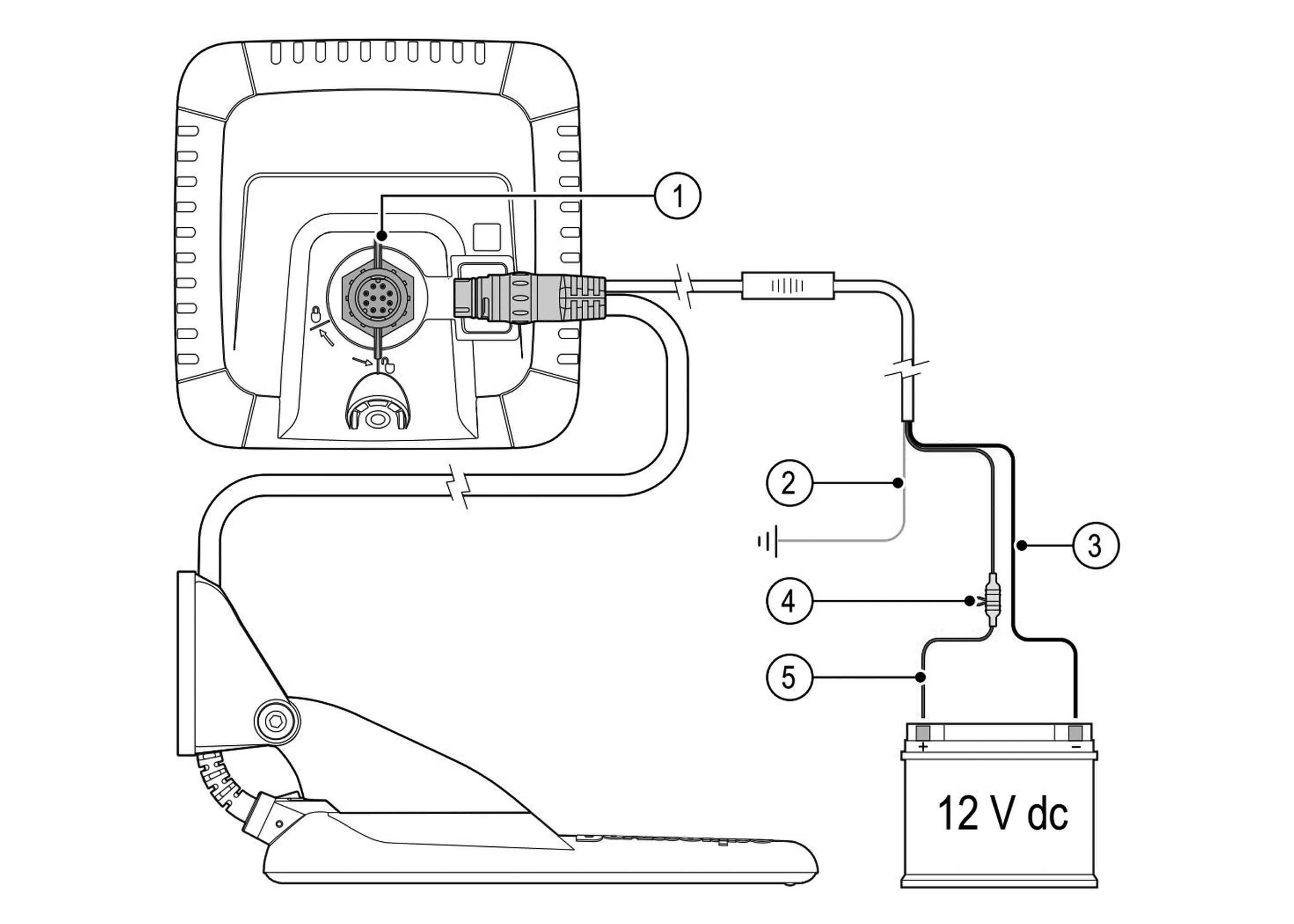
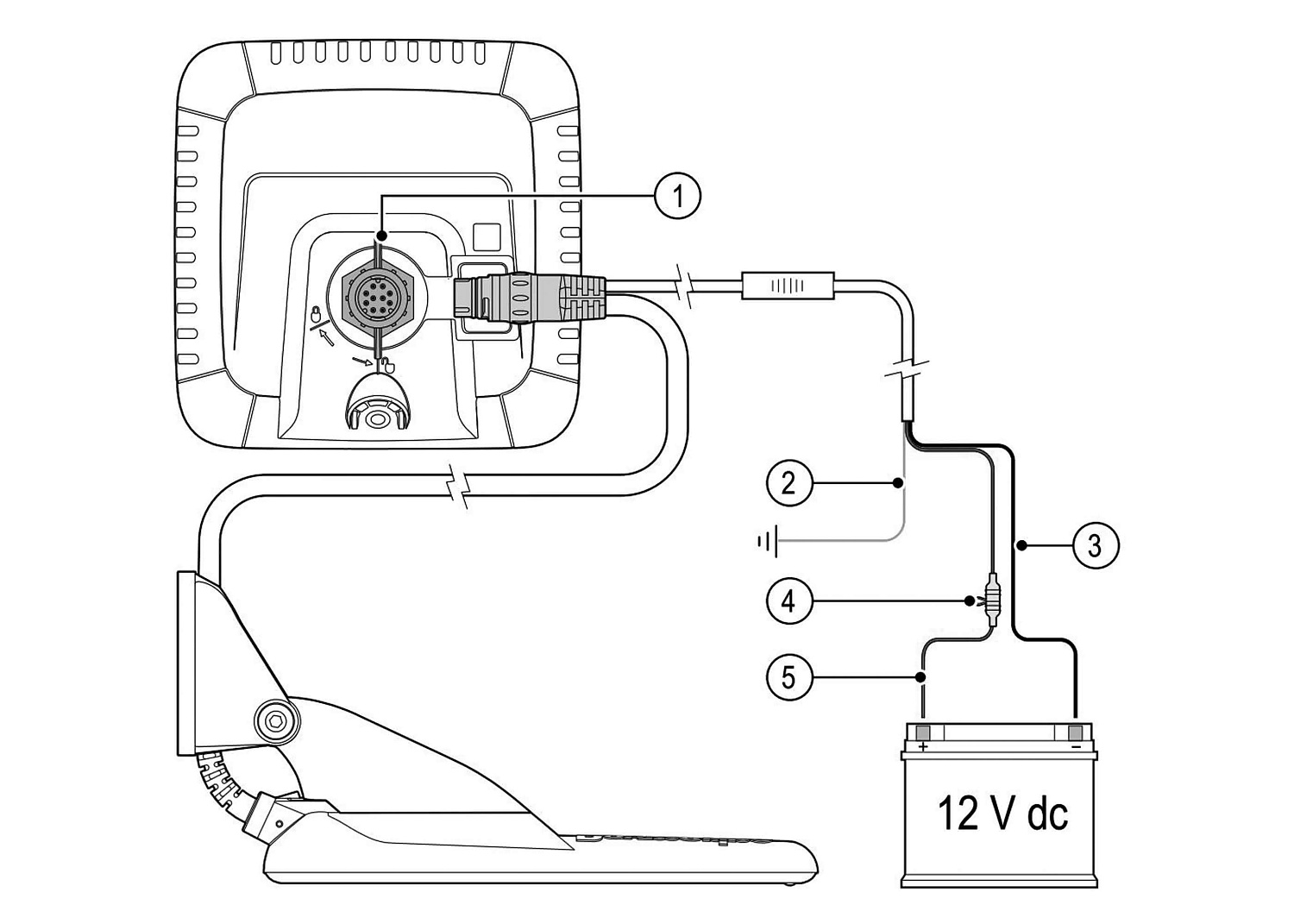
Компактная шаровая система крепления Dragonfly 4 и 5 упрощает установку. Крепление легко модернизировать до более поздней версии шаровой системы крепления.
Сравнительная таблица
| DragonFly 5 DVS | DragonFly 5 PRO | |
| Screen size | 5" (127 mm) | 5" (127 mm) |
| Screen resolution | 800 x 480 Pixel | 800 x 480 Pixel |
| CHIRP Sonar | ✔ | ✔ |
| CHIRP DownVisionTM | ✔ | ✔ |
| WiFi | ✔ | |
| Wi-Fish App (iOS & Android) | ✔ | |
| Built in GPS | ✔ | |
| MicroSD Card Reader | ✔ | |
| Power | 12 V DC | 12 V DC |
| CPT incl. Temp. | ✔ | ✔ |
|
Бренд
|
Raymarine |
|
Серия
|
Dragonfly |
|
Вид эхолокации
|
Традиционное, Нижнее |
|
Трансдьюсер (Датчик)
|
В комплекте |
|
Bluetooth
|
No |
|
NMEA 0183
|
No |
|
NMEA 2000
|
No |
|
Wi-Fi
|
Да |
|
Подключение радара
|
No |
|
Модуль сонара
|
Yes |
|
Тип сонара
|
CHIRP / Fishfinder, DownVision, Numerical depth |
|
Поддержка морских карт
|
Yes |
|
Обзор сонара
|
Fish, Bottom structure |
|
Угол обзора
|
70°Downwards |
|
Ethernet / Network
|
No |
|
Высота установки
|
149mm |
|
Класс защиты IP
|
IPX7 |
|
Максимальная глубина
|
274m |
|
Морские карты
|
C-MAP 4D, Navionics+ |
|
Управление с мобильным устройством
|
No |
|
Ширина установки
|
149mm |
|
Совместимые датчики Raymarine
|
CPT-70 |
|
barcode
|
723193791653 |
|
ЕАН
|
723193791653 |
Для покупки товара в нашем интернет-магазине выберите понравившийся товар и добавьте его в корзину. Далее перейдите в Корзину и нажмите на «Оформить заказ» или «Быстрый заказ».
Когда оформляете быстрый заказ, напишите ФИО, телефон и e-mail. Вам перезвонит менеджер и уточнит условия заказа. По результатам разговора вам придет подтверждение оформления товара на почту или через СМС. Теперь останется только ждать доставки и радоваться новой покупке.
Оформление заказа в стандартном режиме выглядит следующим образом. Заполняете полностью форму по последовательным этапам: адрес, способ доставки, оплаты, данные о себе. Советуем в комментарии к заказу написать информацию, которая поможет курьеру вас найти. Нажмите кнопку «Оформить заказ».
Наша компания работает как с физическими, так и с юридическими лицами.
Физическим лицам:
Оплата наличными при получении в Москве.Нужно оформить заказ удобным для Вас способом, на нашем сайте, по телефону, или эл. почте и указать в пункте Оплата – «Наличными», при этом варианте оплата осуществляется нашему курьеру по факту доставки заказа.
В случае отказа от покупки товара надлежащего качества в момент фактического получения заказа, вам необходимо оплатить стоимость доставки заказа (п.3 ст. 497 ГК РФ) согласно тарифу.
Безналичный расчет для физ. лиц. - оплата по квитанции/счету.
Нужно оформить заказ удобным для Вас способом, на нашем сайте, по телефону, или эл. почте и указать в пункте Оплата – «Квитанция или счет», для оплаты Вам необходимо будет распечатать и оплатить квитанцию/счет по указанным в ней реквизитам, это можно сделать через мобильное приложение вашего банка или непосредственно в самом банке у операциониста. За данную операцию может взыматься комиссия, размер которой вы можете уточнить также в мобильном приложении своего банка или непосредственно в самом банке.
Оплата банковской картой на сайте:
Оплата банковской картой на сайте проходит в 2 этапа -
- Нужно оформить заказ удобным для Вас способом, на нашем сайте, по телефону, или эл. почте и указать в пункте Оплата – «Он-лайн оплата» с обязательным указанием полей вашей эл. почты и контактного номера телефона.
- Наш менеджер свяжется с Вами в рабочее время с подтверждением фактического наличия, утверждением всех позиций и сроков доставки данного заказа. После чего направит на указанный вами адрес эл. почты ссылку на онлайн оплату, по которой вы непосредственно и проведете оплату через защищенный прокси-сервер.
Оплата наличными или банковской картой в кассе Магазина:
- Наличными в кассу
- Банковской картой
- Подарочным сертификатом
г. Москва, м. Беломорская, ул.Смольная,63Б ТВЦ "Экстрим" пав. П11
Наша компания не работает доставкой с наложенным платежом!
*Советуем предварительно уточнять о фактическом наличии товара в магазине или сроках его поступления.
Юридическим лицам:
С юридическими лицами мы работаем как с НДС, так и Без НДСНужно оформить заказ удобным для Вас способом, на нашем сайте, по телефону, или эл. почте и указать в пункте Оплата – «по счету для Юр. лиц»
Сообщите в комментарии или менеджеру по телефону какой вид системы налогообложения вам предпочтительнее, а также согласовать позиции и сроки доставки вашего заказа.
После чего будет выставлен соответствующий счет по предоставленным вами реквизитам.
По факту получения товара Вам будут выданы соответствующие закрывающие документы: Товарная накладная, Счет-фактура, УПД, при необходимости мы можем заключить договор поставки.
Остались вопросы?
тел. +7 (495) 374-78-22 или эл. почта: shop@sonar.pro
Мы понимаем, как важно получить долгожданную покупку без лишних хлопот. Поэтому предлагаем три удобных способа доставки на ваш выбор.
1. Самовывоз из нашего магазина в Москве
Отличный вариант для тех, кто хочет сэкономить и забрать заказ в ближайшее время.- Как это работает: Оформляйте заказ на сайте и выбирайте опцию «Самовывоз». Как только заказ будет собран, мы вышлем вам уведомление. Вам нужно будет просто подойти к кассе нашего магазина в рабочее время.
- Преимущества:
- Бесплатно.
- Максимально быстро.
- Можно примерить или проверить товар на месте.
- Адрес: г. Москва, ул. Смольная 63Бк1, ТЦ Экстрим, второй этаж павильон «П11».
- Часы работы: с 10-30 до 20-30 ежедневно (без выходных)..
2. Курьерская доставка по Москве (в пределах МКАД)
Для тех, кто ценит время и комфорт. Мы привезем все сами!- Как это работает: Укажите свой адрес при оформлении заказа. В день доставки наш курьер свяжется с вами, чтобы согласовать удобный временной интервал.
- Преимущества:
- Удобно — не нужно никуда ехать.
- Быстро — доставляем в день заказа, если заказ оформлен и согласован до 12 - 00 текущего дня или на следующий день, если заказ оформлен и согласован после 12 - 00 и не позднее 19-00 текущего дня.
- Время — осуществляется ежедневно с 10-00 до 21-00.
- Стоимость: 600р.
3. Доставка по России через СДЭК*
Мы отправляем заказы в любой уголок страны с помощью надежной транспортной компании СДЭК. - Как это работает: При оформлении заказа выберите способ доставки «СДЭК». Система автоматически предложит вам выбрать ближайший пункт выдачи (ПВЗ) или доставку до двери и рассчитает точную стоимость.
- Преимущества:
- Доступность по всей России.
- Выбор между получением в пункте выдачи или курьером до двери.
- Возможность отслеживания посылки онлайн по трек-номеру.
- Стоимость и сроки: Рассчитываются индивидуально в зависимости от города, веса и габаритов заказа.
- Доставка ТК по Москве за пределы МКАД и Московской области - от 300 руб.
- Доставка ТК по России - от 500 руб.
*Мы настоятельно рекомендуем страховать отправления на полную стоимость.
*Иной способ доставки и оплаты Вы можете обсудить с нашими менеджерами по тел. +7 (495) 374-78-22 ежедневно с 9-00 до 21-00 (МСК)
Наша компания не работает доставкой наложенным платежом!
Уважаемые покупатели магазина Сонар.Про!
Для вашего удобства мы открыли фирменный магазин эхолотов в Москве - Сонар.Про, который вы можете посетить ежедневно с 10-00 до 21-00 по адресу г. Москва, Смольная улица дом 63Бк1, павильон П11, на втором этаже ТВЦ "Экстрим", карту и контакты вы можте посмотреть здесь.
В нашем магазине представлены эхолоты, трэкплоттеры и картплотеры всемирно известных производителей таких как SIMRAD, Lowrance, Garmin, Raymarine, Humminbird и другие.
Мы поможем подобрать нужный комплект обрудования для вашей лодики, катера и даже яхты. В интернет-магазине и в розничном магазине компании Сонар всегда в наличии и под заказ самый полный ассортимент трансдьюсеров и датчиков для эхолотов, большой выбор аксессуаров для эхолотов и картплоттеров, у нас вы сможете найти крышки для эхолотов которые защитят экран от царапин, пыли и влаги, крепления для эхолотов и крепления для датчиков как на транец так и врезные датчики. В нашем интернет-магазине вы можете заказать кабели и провода для эхолотов, а также переходники с 4pin на 8 pin, соединители и провода NMEA2000.
На ветринах магазина вы найдете эхолоты для рыбалски с берега марки Deeper и Lowrance, подводные камеры для рыбалки как с записью так и без, радиостанции речного и морскокго диапазона, а так же и носимые туристические радиостанции, навигаторы для туризма и активного отдыха с предзагруженой и обновляемой топографической картой.
Если вы еще не знаете где лучше купить эхолот и аксессуары к нему, то наш магазин именно то место которое вы так долго искали.
Наши квалифицированные продавцы всегда готовы ответить на Ваши вопросы и подобрать эхолот или подходящую электронику для рыбалки и судоходства. Вы всегда можете попросить включить нужный вам прибор при его наличии в магазине (наличие уточняйте по телефону), а если нужное устройство временно отстутвует, то наша служба доставки осуществит доставку оборудования к нам в магазин или к Вам домой, офис в любое удобное время в течении 1-го дня по Москве, либо транспортной компанией в любой регион России, сроки уточняйте у продавцов по телефону.
Компания Сонар является официальным диллером и поставляет только официальную продукцию с гарантией производителя, очем свидетельствуют сертификаты и информация на официальных сайтах производителя!

До встречи в нашем магазине эхолотов Сонар.Про!

